Как установить фановый стояк канализации самостоятельно: 4 главных ошибки при монтаже
Канализационная система должна иметь выход к внешней среде. Ее сообщение с улицей обеспечивает фановая труба канализации. Сливные воды проходят по вертикальным коммуникациям, оставляя после себя разряженный воздух. Частично решить эту проблему помогает оставшаяся вода в сифонах. В случае, когда происходит мощный единоразовый слив, то в трубах образуется вакуум. Сифоны опустошаются и неприятные запахи легко попадают внутрь помещений. Такая проблема доставляет жильцам большой дискомфорт. Решить ее может устройство фановой трубы.
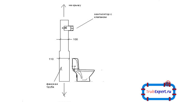
Фановый стояк позволяет понизить давлении газов в системе и выводит их в атмосферу вне помещения
Фановая труба, может отсутствовать только в одноэтажных зданиях. Это указано в строительных нормативах. В них одновременные мощные сливы осуществляются редко, и проблема не стоит так остро. Тем не менее неприятный запах может появиться и в одноэтажном доме. Для этого достаточно одновременно смыть унитаз и слить ванну. Важно, чтобы внутренний диаметр стояка не перекрывался сточной водой на 100%. Фановый стояк должен быть обязательно установлен в доме с несколькими санузлами.
Канализация должна быть снабжена дополнительной вентиляцией в случаях, когда:
- канализационный стояк, установленный в частном доме, имеет сечение диаметром менее 50 мм;
- многоэтажный дом (выше двух этажей) с санузлами на каждом уровне;
- наличие в доме оборудования, способного создавать сильные стоки вода (бассейн и др.)
Принципы работы фановой системы
Если к стояку присоединяется несколько трубопроводов целесообразно использовать фановый тройник. Изменить направление конструкции можно только через вентиляционный отвод, установленный под углом 135°. Общий вывод фановой трубы, дымохода и вентиляции запрещен. Стояк должен располагаться не менее чем за 4 метра от близлежащего окна либо балкона.
Этапы установки фановой магистрали
Установка фанового стояка подразумевает использование:
- креплений;
- фитингов;
- труб;
- кронштейнов.
До начала монтажа нужно подготовить все детали конструкции. Пластиковые элементы удобнее в использовании. Их применяют в ситуации, когда устанавливается новая система. Замена фановых труб от старой системы немного сложнее.
Чугунная фановая труба заменяется на более удобную и практичную пластиковую в том случае, если замене подлежит вся канализация. Соединять трубы из разных материалов не рекомендуется, конструкция не сможет быть прочной. Если в доме чугунный трубопровод, то и дополнительная вентиляция должна быть чугунной.
Для работы потребуются хомуты, переходники, фитинги, соединители, герметик, трубы с отводами. Для разборки старой канализации потребуется болгарка, перфоратор, кувалда или лом. Канализацией во время проведения работ нельзя пользоваться. Соседей об этом нужно заблаговременно предупредить. Перед работой стояк отключают от водоснабжения.
Установка новой конструкции
Фановая труба для унитаза устанавливается на нижнем уровне магистральной линии. В частном доме за уровень принимается фундамент. Стена размечается для установки хомутов, просверливаются отверстия. Лучше использовать прочные металлические крепления. Они обеспечат надежность всей конструкции.
Новая труба закрепляется на стене хомутами, отводы подводятся к главному трубопроводу и надежно фиксируются при помощи уплотнительных колец. При монтаже для дополнительного укрепления конструкции используют силикон, герметик, вентиляционный хомут.
Второй метод шумоизоляции заключается в использовании минваты. Также можно сконструировать специальный шумопоглощающий короб с отверстием для обслуживания конструкции.
Обратный клапан в системе фановой канализации
Вентиляционная труба при монтаже фанового стояка стандартного типа выходит через крышу на улицу. Дополнительных приспособлений для правильной работы системы больше не требуется. В ситуации, когда вентиляционный выход нельзя вывести наружу используют фановый клапан.
Устройство имеет два отверстия, которые оснащены не пропускающими воздух манжетами. Принцип работы фанового клапана прост. Пружины устанавливаются под манжетами. Когда происходит мощный слив и воздух разряжается, пружины сжимаются и открывают отверстия. Клапан начинает затягивать воздух, стабилизируя тем самым давление в системе. Когда ситуация нормализуется, клапан закрывается.
По такому же принципу работает вентиляционный клапан в стене. Обычно такие конструкции устанавливают на кухне, где существуют проблемы с вентиляцией.
Типичные ошибки при монтаже
Неопытные специалисты допускают типичные ошибки при монтаже канализационной вентиляции. Вот основные из них:
- Канализационная вентиляция не должна выводиться в чердачное помещение. Часто из-за нежелания портить кровельный материал и состыковывать его с трубой, стояк выводят на чердак. В результате канализационные газы накапливаются в помещении и проникают затем в верхние жилые этажи.
- Не рекомендуется использовать дефлектор и прочие вентиляционные устройства. Тягу они не улучшат, зато приведут к накоплению конденсата в канализационной системе.Конденсат в последствии замерзнет и закупорит трубы.
- Нельзя монтировать канализационную вентиляцию на внешней стене дома. Зимой эта система не сможет правильно функционировать из-за скопления конденсата и его замерзания.
- Трубы нельзя выводить под крышей. Зимой их повредит снег, падающий с крыши.


